中(zhong)國種業并購風云(yun)
農財網種業寶典 2024-01-28
全球種業發展史也是兼并重組的歷史。如今的世界種業市場由拜耳、科迪華、先正達等巨頭瓜分。
在(zai)中國(guo)(guo),新一(yi)輪(lun)的種業兼并重組正在(zai)加(jia)速推進。“國(guo)(guo)投系”逐(zhu)漸(jian)嶄露頭(tou)角,成為繼“中信系”“中化系”后又一(yi)股強大勢力。
種業(ye)并購潮再(zai)起
“國投系”成(cheng)型起(qi)勢(shi)
行業集中度低容易引發無序競爭。我國種子企業長期存在“多小散弱”的問題,種子市場上以次充優、以甲充乙、以價亂市的極端“競底”現象不時發生。
進入21世紀第二(er)個十年,伴(ban)隨著種業(ye)振興行(xing)動加速推進,中國種業(ye)企(qi)業(ye)的并購潮(chao)再次涌起。
僅在2023年,“中信系”隆平(ping)高科現(xian)(xian)金收(shou)購(gou)隆平(ping)發展7.14%股(gu)份并實(shi)現(xian)(xian)控(kong)股(gu),旨在加速整(zheng)合(he)國內外(wai)業(ye)務(wu),實(shi)現(xian)(xian)種業(ye)全球化(hua)布局。此(ci)外(wai)還收(shou)購(gou)了福(fu)建科力種業(ye)、云南宣晟種業(ye)。
此外,荃銀高科收購河北新紀元種業67.9%股權農發種業用自有資金收購安徽華成種業部分股權。敦煌種業推進控股股東及實際控制人變更,實控人極大概率將變更為甘肅省政府國資委。綠亨科技以5623萬元收購酒泉慶和70%股權,延伸其蔬菜種業產業鏈……
更值得注意的是,在中(zhong)國(guo)種業(ye)的競(jing)爭版(ban)圖(tu)里(li),繼“中(zhong)信系(xi)”、“中(zhong)化系(xi)”之后,“國(guo)投系(xi)”也呼之欲出。
2023年9月26日,央企“國家隊”國家開發投資集團有限公司(簡稱“國投集團”)在種業領域布下一子,斥資40億元成立國投種業。
國投種業全稱為國投種業科技有限公司,注冊地位于海南三亞的崖州灣科技城完成,法定代表人王維東,注冊資本40億元,經營范圍包括主要農作物種子生產、轉基因農作物種子生產、農作物種子經營等。公開信息顯示,國投種業為國投集團全資子公司,是國投集團生物育種產業投資運營管理平臺。


國投種業即將(jiang)成為豐(feng)樂(le)種業的控股股東。
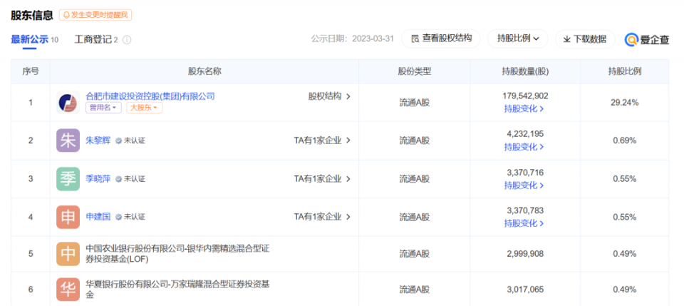
今年1月(yue)17日(ri)(ri),豐樂種業公(gong)告披露,公(gong)司近日(ri)(ri)收到國(guo)投(tou)種業提供(gong)的(de)國(guo)家市場監(jian)督管理總局出具的(de)《經營者集(ji)(ji)中反壟斷審查不實施進一步審查決定書(shu)》。更(geng)早前的(de)2023年7月(yue)17日(ri)(ri),豐樂種業控股(gu)(gu)股(gu)(gu)東合肥市建(jian)設投(tou)資控股(gu)(gu)(集(ji)(ji)團)有限公(gong)司與國(guo)家開發投(tou)資集(ji)(ji)團有限公(gong)司(簡稱“國(guo)投(tou)集(ji)(ji)團”)簽(qian)署(shu)《股(gu)(gu)份(fen)轉讓框架協議(yi)》。
2023年12月(yue)6日,合肥建投(tou)與(yu)國投(tou)集團新設全資子公司國投(tou)種業(ye)簽署《股(gu)份(fen)(fen)轉(zhuan)讓協議》,擬(ni)(ni)向(xiang)后者轉(zhuan)讓其持有的(de)公司無限售(shou)流通股(gu)股(gu)份(fen)(fen)合計122802996股(gu),收購(gou)金額約(yue)10.94億元。本次(ci)擬(ni)(ni)轉(zhuan)讓股(gu)份(fen)(fen)數量(liang)占豐樂種業(ye)股(gu)份(fen)(fen)總數的(de)20.00%。豐樂種業(ye)控股(gu)股(gu)東和(he)實際控制(zhi)人擬(ni)(ni)發(fa)生變更。
交易(yi)完成后,國投種業將(jiang)(jiang)成為(wei)豐(feng)樂種業的控股(gu)股(gu)東(dong),國務院國有(you)資產監督管(guan)理(li)委員會將(jiang)(jiang)成為(wei)公(gong)司的實控人。


公開(kai)信息顯示,豐樂(le)種業的最大(da)股(gu)東(dong)尚未發生變更。
近(jin)年(nian)來,國(guo)投集團還(huan)通過國(guo)投創益(yi)戰略投資了大北農生(sheng)物、杭州瑞豐、糧元生(sheng)物、隆平生(sheng)物等企業,完(wan)成對國(guo)內生(sheng)物育種核心企業的(de)投資全覆蓋。
整體(ti)上(shang)(shang)看(kan),國(guo)投(tou)(tou)(tou)集團在(zai)(zai)種業領域的(de)(de)布局(ju)已基本成(cheng)型(xing)。可(ke)以預見,在(zai)(zai)取得豐樂(le)種業的(de)(de)控股權后,背靠強大(da)的(de)(de)國(guo)有(you)資(zi)本,結合其在(zai)(zai)生(sheng)物育種上(shang)(shang)的(de)(de)完(wan)善布局(ju)和豐樂(le)種業原(yuan)有(you)的(de)(de)堅實基礎,以國(guo)投(tou)(tou)(tou)種業為代表的(de)(de)“國(guo)投(tou)(tou)(tou)系”在(zai)(zai)種業市(shi)場上(shang)(shang)的(de)(de)競(jing)爭力將不斷顯現。
國(guo)(guo)投(tou)(tou)集團(tuan)成立(li)于1995年,是中(zhong)央直接(jie)管理的國(guo)(guo)有(you)重要骨干企業(ye)(ye),是中(zhong)國(guo)(guo)最早設(she)立(li)的綜合(he)性(xing)國(guo)(guo)有(you)開(kai)發投(tou)(tou)資(zi)公(gong)(gong)司(si)。現擁有(you)全資(zi)及控(kong)股(gu)子公(gong)(gong)司(si)17家,全資(zi)及控(kong)股(gu)投(tou)(tou)資(zi)企業(ye)(ye)477家,包括國(guo)(guo)投(tou)(tou)電力、國(guo)(guo)投(tou)(tou)資(zi)本(ben)、中(zhong)成股(gu)份、國(guo)(guo)投(tou)(tou)中(zhong)魯等9家控(kong)股(gu)上市公(gong)(gong)司(si)。截至2022年年底,國(guo)(guo)投(tou)(tou)集團(tuan)資(zi)產總(zong)額7950億(yi)(yi)元(yuan),2022年度實現營(ying)業(ye)(ye)收入2114億(yi)(yi)元(yuan),利潤總(zong)額233億(yi)(yi)元(yuan)。

“中化(hua)系”“中信系”的由來
我國種業的上一輪并(bing)購(gou)潮,可追(zhui)溯至(zhi)2011年(nian)。
21世紀(ji)初(chu),中(zhong)國種業的市(shi)場化程度偏(pian)低,種業兼(jian)并重組受政(zheng)策影(ying)響明顯。在(zai)2011年“8號文(wen)件(jian)”出臺后,企業在(zai)商(shang)業化育種體(ti)系中(zhong)的核心(xin)地(di)位得以明確,種業企業得到前(qian)所(suo)未有的關注與投(tou)入,兼(jian)并重組也開始進入活躍(yue)期。
透過一系列兼并重組(zu),種(zhong)業(ye)(ye)企業(ye)(ye)進一步提效(xiao)降本(ben),產生了(le)(le)協(xie)同效(xiao)應,擴大(da)了(le)(le)規(gui)模(mo)經(jing)濟,形成了(le)(le)市(shi)(shi)場(chang)控制力,最(zui)終提高(gao)了(le)(le)收益(yi),也對種(zhong)業(ye)(ye)市(shi)(shi)場(chang)格局產生了(le)(le)深遠影(ying)響。
截止目前(qian),以隆平(ping)高(gao)科為代表的(de)“中信系”,以先正(zheng)達(da)為代表的(de)“中化系”,已(yi)成為我(wo)國種業(ye)市場最(zui)重要的(de)兩股勢力。
先看“中信系”:
隆(long)平高科早在20世紀(ji)初便(bian)開啟并購(gou)步伐。2007年(nian)(nian),隆(long)平高科全資收(shou)購(gou)當時(shi)負債累累的(de)湖南亞華種業,后者在幾(ji)年(nian)(nian)后迅速(su)扭虧為盈。此后十多年(nian)(nian)間,隆(long)平高科透過兼并重組持續擴大業務規模。
查看由中(zhong)國種子(zi)協會(hui)發布的歷屆中(zhong)國種業50強(qiang)(中(zhong)國種業明星(xing)企業、中(zhong)國種業骨干企業)榜(bang)單,隆平高(gao)科(ke)在(zai)2006年(nian)時排(pai)名(ming)第十,此后(hou)在(zai)2009、2013、2016、2019、2022年(nian)連續(xu)“霸榜(bang)”第一(yi)。
2016年,中(zhong)國(guo)中(zhong)信(xin)集團有限(xian)公司(si)入主隆(long)平(ping)高(gao)科(ke),后者(zhe)正式變身“國(guo)家(jia)隊(dui)”。憑(ping)借雄厚的國(guo)企資(zi)金優勢,隆(long)平(ping)高(gao)科(ke)繼續開(kai)展并購(gou)。如今,以隆(long)平(ping)高(gao)科(ke)為代表的“中(zhong)信(xin)系”已是(shi)中(zhong)國(guo)種業最重要的勢力之一。

再看“中化系”:
“中(zhong)化系”的重(zhong)要代表是如今先正達旗下的中(zhong)國(guo)(guo)(guo)種(zhong)子集團(tuan)、荃銀高科。中(zhong)種(zhong)集團(tuan)前身是1978年國(guo)(guo)(guo)務院(yuan)批(pi)準在原農林部種(zhong)子局(ju)的基礎(chu)上成立的中(zhong)國(guo)(guo)(guo)種(zhong)子公司,是我國(guo)(guo)(guo)改革(ge)開放(fang)后第(di)一家種(zhong)子企業。
2007年,中種集團并入中國中化集團有限公司,成為其全資子公司。自2010年起,中種集團積極實施并購戰略(詳情看下方表格)。如今其業務已涵蓋玉米、水稻、小麥、蔬菜和花卉種子等,還是荃銀高科的第一大股東。
在全國農業技術(shu)推廣服務中(zhong)心(xin)發布的2022年度商(shang)品種子(zi)銷售額(e)榜單中(zhong),中(zhong)國種子(zi)集團超(chao)越隆(long)平高科,排(pai)名第一。
荃銀(yin)(yin)高科同(tong)樣(yang)依靠并購做大做強。2018年,中國中化集團旗下中化現代(dai)農業(ye)有限公司收購荃銀(yin)(yin)高科部(bu)分股(gu)份,成為后者第(di)一(yi)大股(gu)東。荃銀(yin)(yin)高科由民營(ying)企業(ye)轉向混合(he)所有制企業(ye)。


“中化系”的誕(dan)生源自中國化工收購先正達,以及之后(hou)的“兩化”種業重組(zu)。
在全(quan)球第三(san)次種業(ye)(ye)并(bing)購潮中,中國化工于(yu)2017年斥資(zi)430億(yi)美元,成功(gong)收購全(quan)球最大(da)農化公(gong)(gong)司(si)、第三(san)大(da)種子公(gong)(gong)司(si)—瑞士先正達,成為中國迄今為止(zhi)最大(da)的(de)海外收購案。同年又(you)從中糧集團(tuan)手(shou)中收購荷蘭糧食與種子巨頭尼(ni)德拉種業(ye)(ye)(Nidera)。此后于(yu)2018年入股荃(quan)銀高科,2019年收購三(san)北種業(ye)(ye)有限責任公(gong)(gong)司(si)。
2020年,中(zhong)(zhong)(zhong)國(guo)中(zhong)(zhong)(zhong)化集(ji)(ji)團(tuan)(tuan)有限(xian)公司(si)和中(zhong)(zhong)(zhong)國(guo)化工集(ji)(ji)團(tuan)(tuan)有限(xian)公司(si)“兩化”重(zhong)整,雙方將各自農化資產(chan)無償(chang)劃轉(zhuan)至先正達集(ji)(ji)團(tuan)(tuan)。新架構下(xia),先正達包含先正達植保、先正達種子、安道麥、先正達集(ji)(ji)團(tuan)(tuan)中(zhong)(zhong)(zhong)國(guo)四(si)大業(ye)務單元。如今的(de)先正達集(ji)(ji)團(tuan)(tuan)中(zhong)(zhong)(zhong)國(guo),旗下(xia)擁(yong)有中(zhong)(zhong)(zhong)種集(ji)(ji)團(tuan)(tuan)、荃銀(yin)高科、三(san)北種業(ye)、金稻種業(ye)等種業(ye)企(qi)業(ye)。
此番兼并(bing)重組后,以隆(long)(long)平高科為代表(biao)的(de)“中信系(xi)”、以先(xian)正達為代表(biao)的(de)“中化系(xi)”正式登上世(shi)界(jie)種業舞臺。目(mu)前,先(xian)正達穩居世(shi)界(jie)種企前三強,隆(long)(long)平高科多次入(ru)圍前十,直面全球種業競(jing)爭。
中(zhong)國種企還有這些重要勢力
在中國種業兼并重(zhong)組的活(huo)躍期,得益于產業政策(ce)和資本(ben)市(shi)場(chang)雙重(zhong)推動,種業龍頭企業通過外延(yan)并購打破瓶頸,進行資源整合,不斷(duan)推進做大(da)做強。
在中(zhong)信集團(tuan)、中(zhong)國(guo)(guo)化(hua)工集團(tuan)、中(zhong)國(guo)(guo)中(zhong)化(hua)集團(tuan)、國(guo)(guo)投集團(tuan)等國(guo)(guo)有(you)資本陸續入局(ju)種業(ye)后,“中(zhong)化(hua)系”、“中(zhong)信系”,加上發展壯(zhuang)大(da)中(zhong)的“國(guo)(guo)投系”,或是中(zhong)國(guo)(guo)種業(ye)最強大(da)的三股(gu)勢(shi)力。
但除此之(zhi)外,相對獨(du)立(li)的(de)農發種(zhong)(zhong)業(ye)(ye)、墾豐種(zhong)(zhong)業(ye)(ye)、中(zhong)(zhong)農種(zhong)(zhong)業(ye)(ye)、中(zhong)(zhong)林種(zhong)(zhong)子、登(deng)海種(zhong)(zhong)業(ye)(ye)、大北農等,也是市場競爭中(zhong)(zhong)不容小(xiao)覷的(de)重要力(li)量。
農發(fa)種(zhong)(zhong)(zhong)業(ye)(ye)大量(liang)并(bing)購區域“尖兵”。農發(fa)種(zhong)(zhong)(zhong)業(ye)(ye)全稱中農發(fa)種(zhong)(zhong)(zhong)業(ye)(ye)集團股份(fen)(fen)有限(xian)公司(si)(si),自2011年起先后并(bing)購河南黃泛(fan)區地神(shen)種(zhong)(zhong)(zhong)業(ye)(ye)有限(xian)公司(si)(si)、廣(guang)西格霖(lin)農業(ye)(ye)科技發(fa)展有限(xian)公司(si)(si)、湖(hu)北省種(zhong)(zhong)(zhong)子集團有限(xian)公司(si)(si)、山(shan)西潞玉種(zhong)(zhong)(zhong)業(ye)(ye)股份(fen)(fen)有限(xian)公司(si)(si)、江(jiang)蘇金土地種(zhong)(zhong)(zhong)業(ye)(ye)有限(xian)公司(si)(si)、山(shan)東(dong)天泰種(zhong)(zhong)(zhong)業(ye)(ye)有限(xian)公司(si)(si)、甘肅興達種(zhong)(zhong)(zhong)業(ye)(ye)有限(xian)公司(si)(si)等公司(si)(si),自此其業(ye)(ye)務涵蓋玉米、小麥、水稻等作物種(zhong)(zhong)(zhong)業(ye)(ye)。
墾(ken)(ken)豐種(zhong)業(ye)(ye)整合全(quan)省墾(ken)(ken)區(qu)種(zhong)業(ye)(ye)資源。墾(ken)(ken)豐種(zhong)業(ye)(ye)全(quan)稱為(wei)北(bei)大(da)(da)(da)荒(huang)墾(ken)(ken)豐種(zhong)業(ye)(ye)股份有(you)限公司,由成(cheng)立于(yu)2001年(nian)的黑(hei)龍(long)(long)(long)江北(bei)大(da)(da)(da)荒(huang)集(ji)團(tuan)九三種(zhong)業(ye)(ye)公司、黑(hei)龍(long)(long)(long)江農(nong)(nong)墾(ken)(ken)墾(ken)(ken)豐種(zhong)業(ye)(ye)有(you)限公司于(yu)2007年(nian)合并后(hou)幾經(jing)變更、增資擴股而來(lai)。在2011年(nian)全(quan)面完成(cheng)黑(hei)龍(long)(long)(long)江墾(ken)(ken)區(qu)內(nei)所有(you)種(zhong)業(ye)(ye)和資源整合,在2012年(nian)被北(bei)大(da)(da)(da)荒(huang)農(nong)(nong)墾(ken)(ken)集(ji)團(tuan)有(you)限公司下(xia)屬黑(hei)龍(long)(long)(long)江北(bei)大(da)(da)(da)荒(huang)現代農(nong)(nong)業(ye)(ye)服務集(ji)團(tuan)有(you)限公司收購后(hou)改為(wei)現名。
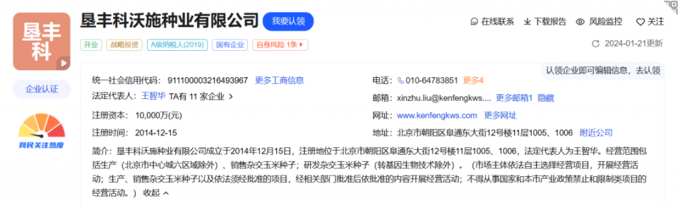
墾豐種業曾于2014年與(yu)德國科(ke)沃施公(gong)司合資成(cheng)立墾豐科(ke)沃施種業有限公(gong)司,但(dan)目前(qian)科(ke)沃施已退出(chu)。


供銷總社入局成立中農種業。中農種業全稱為中農集團種業控股有限公司,中華全國供銷合作總社下屬中國農業生產資料集團公司的控股子公司,于2012年4月9日成立,距8號文件發布不到一年。
此后,中農種(zhong)(zhong)(zhong)業于(yu)2012年(nian)與山東匯(hui)德(de)豐(feng)種(zhong)(zhong)(zhong)業有限公(gong)司(si)合(he)資成立山東中農匯(hui)德(de)豐(feng)種(zhong)(zhong)(zhong)業科技(ji)有限公(gong)司(si)。2012年(nian)全資成立內蒙古(gu)中農種(zhong)(zhong)(zhong)子(zi)科技(ji)有限公(gong)司(si)成立。2013年(nian)成功控股江(jiang)西現代(dai)種(zhong)(zhong)(zhong)業股份有限公(gong)司(si),中農種(zhong)(zhong)(zhong)業成為供(gong)銷總社布局國內種(zhong)(zhong)(zhong)子(zi)業務(wu)的主體和平臺。
2022年,中(zhong)農立華生(sheng)物(wu)科技股份有(you)限公(gong)司以(yi)2700萬元收購控(kong)股股東中(zhong)農集(ji)團持有(you)的中(zhong)農種業18%股權。目前(qian)中(zhong)農集(ji)團持有(you)中(zhong)農種業51%股份,仍為(wei)其(qi)控(kong)股股東。
中(zhong)(zhong)林(lin)種(zhong)子(zi)(zi)(zi)持續布局(ju)(ju)農作物(wu)種(zhong)業(ye)(ye)(ye)。中(zhong)(zhong)林(lin)種(zhong)子(zi)(zi)(zi)全稱(cheng)為(wei)中(zhong)(zhong)國(guo)林(lin)木種(zhong)子(zi)(zi)(zi)有(you)限(xian)公(gong)(gong)司(si),2014年,國(guo)資委將張掖金象種(zhong)業(ye)(ye)(ye)公(gong)(gong)司(si)劃撥(bo)給中(zhong)(zhong)國(guo)林(lin)業(ye)(ye)(ye)集團(tuan)有(you)限(xian)公(gong)(gong)司(si),公(gong)(gong)司(si)名稱(cheng)變(bian)更為(wei)中(zhong)(zhong)林(lin)集團(tuan)張掖金象種(zhong)業(ye)(ye)(ye)公(gong)(gong)司(si),由(you)中(zhong)(zhong)林(lin)種(zhong)子(zi)(zi)(zi)實際(ji)管理(li),自此介入農作物(wu)種(zhong)子(zi)(zi)(zi)行業(ye)(ye)(ye)。隨(sui)后數(shu)年,中(zhong)(zhong)林(lin)集團(tuan)通過(guo)資本運(yun)作,先后成為(wei)江蘇中(zhong)(zhong)江種(zhong)業(ye)(ye)(ye)股份有(you)限(xian)公(gong)(gong)司(si)和北京屯玉(yu)種(zhong)業(ye)(ye)(ye)有(you)限(xian)公(gong)(gong)司(si)第一大股東(dong),從此入局(ju)(ju)水稻、玉(yu)米種(zhong)業(ye)(ye)(ye)。
值得一提的是,中(zhong)林種子在(zai)生(sheng)(sheng)物育(yu)種領域的實(shi)力(li)雄厚。在(zai)農業(ye)農村部發布的多批農業(ye)轉(zhuan)基因生(sheng)(sheng)物安全證書批準(zhun)清單中(zhong),中(zhong)林種子累計有2個轉(zhuan)基因玉米轉(zhuan)化體獲得生(sheng)(sheng)產應用(yong)安全證書,名列前茅。
……
來(lai)源丨農財(cai)君綜合整理
編輯丨農財君(jun)
聯系農財君丨18565265490
新時代 新種業(ye)
南方(fang)農村(cun)報(bao)丨(shu)農財(cai)寶典


